ALU 15 jak?
ALU 15 jak?
ahoj jakým způsobem dáváte na 205 15ky kola s roztečí 4x100? používají se redukce nebo to jde i jinak? je potřeba vytáhnout blatníky?
Re: ALU 15 jak?
Dostaneš je tam jedině s podložkama na změnu rozteče a jestli je potřeba vytáhnout blatníky tak to záleží na rozměru kola (šířka a ET) a rozměr gumy.
Re: ALU 15 jak?
nj ty hodnoty přesně nevím ale jsou to límcáky to tam jen tak nevejde, kdyžtak tam nadvařím lemy..ale lemy z čeho? 
Re: ALU 15 jak?
Zjisti nejdřív pořádně rozměry, potom existují kalkulačky, který ti spočítají ty hodnoty odchylky a podle toho uvidíš dál.
Hlavně taky pozor na středovou díru i když ta půjde vyřešit těma podložkama se změnou roztěče.
Jinak jsou to nějak raritní kola nebo proč o nich uvažuješ? 4x108 je taky celkem běžnej rozměr a dají se sehnat.
Hlavně taky pozor na středovou díru i když ta půjde vyřešit těma podložkama se změnou roztěče.
Jinak jsou to nějak raritní kola nebo proč o nich uvažuješ? 4x108 je taky celkem běžnej rozměr a dají se sehnat.
Re: ALU 15 jak?
nj tak hlavně já už je mám z předchozího auta no...
Re: ALU 15 jak?
Tak snad není problém zjistit rozměry? Bez nich je těžký říck jak moc budou jiný oproti originálním.
Re: ALU 15 jak?
ok zális musím změřit pak to sem uvedu.. 
- HoRSiK
- 205club je můj domov

- Příspěvky: 994
- Registrován: 20 bře 2008 09:58
- Rok narození: 1988
- Skutečné jméno: Jakub
- Bydliště: Brno, Blansko
- Kontaktovat uživatele:
Re: ALU 15 jak?
na tech kolech to bdue nastopro secko napsany 
Re: ALU 15 jak?
disky mají hodnotu e25 a pláště 195/55 musí se připočítat podložka na změnu rozteče ta je 18 mm
Naposledy upravil(a) jurasek85 dne 22 úno 2012 12:42, celkem upraveno 1 x.
Re: ALU 15 jak?
šířka disku je 200 mm
Re: ALU 15 jak?
Prosím tě na disku musí být vyražený i číslo.
Bývá to 6J15 6,5J15 nebo tak nějak. Nebo alespoň to vyfoť a já si to z toho vyčtu.
Bývá to 6J15 6,5J15 nebo tak nějak. Nebo alespoň to vyfoť a já si to z toho vyčtu.
Re: ALU 15 jak?
aha tak to si myslel nejspíš tenhle údaj 7Jx15M2 
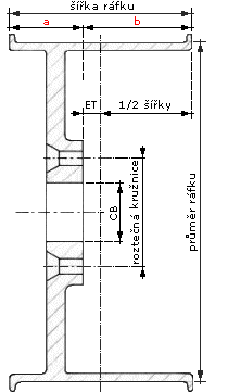
Re: ALU 15 jak?
Takže tady si to můžeš spočítat
http://www.e-pneu.cz/rozmery_alu.php
Podle mých výpočtů je
rozměr a +7mm
rozměr b +19mm
počítáno pro srovnání originál ráfky 6J15 ET19 a tvoje 7J15 ET25
pokud dáš podložky, tak rozměr a ti vyleze ještě o 18mm takže bude celkově o 25mm vylezlý víc než origo speedline a to už ti podle mě bude škrtat.
http://www.e-pneu.cz/rozmery_alu.php
Podle mých výpočtů je
rozměr a +7mm
rozměr b +19mm
počítáno pro srovnání originál ráfky 6J15 ET19 a tvoje 7J15 ET25
pokud dáš podložky, tak rozměr a ti vyleze ještě o 18mm takže bude celkově o 25mm vylezlý víc než origo speedline a to už ti podle mě bude škrtat.
- Přílohy
-
- rafek.gif (7.4 KiB) Zobrazeno 15409 x
Re: ALU 15 jak?
dík
a z čeho myslíš že bych tam mohl navařit lemy??co se tam používá??
